VOD钢包精炼炉介绍

VOD(Vacuum Oxygen Decarburization)钢包精炼炉,即真空吹氧脱碳炉,是一种用于不锈钢和特种钢精炼的二次精炼设备。该设备通过在真空条件下向钢水吹氧,实现深度脱碳,同时减少铬等合金元素的氧化损失。

捷凯洲机械提供的VOD钢包精炼炉采用先进的设计理念和制造工艺,具有高效率、低能耗、操作简便等特点,能够满足不同规模钢厂的生产需求。

我们的VOD设备广泛应用于不锈钢冶炼、轴承钢、工具钢等高品质特种钢的生产,能够显著提高钢材的纯净度,改善钢材的力学性能和加工性能。

真空吹氧脱碳

实现深度脱碳,减少合金损失

高效精炼

精炼周期短,生产效率高

节能环保

能耗低,废气处理完善

智能控制

自动化程度高,操作简便

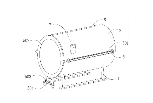
VOD钢包精炼炉示意图

VOD钢包精炼炉类型

标准型VOD炉
查看详情

标准型VOD炉

适用于中小型钢厂,处理容量15-60吨,配备基本真空系统和吹氧系统,满足常规不锈钢精炼需求。

大型VOD炉
查看详情

大型VOD炉

处理容量60-150吨,配备高性能真空泵组和智能控制系统,适用于大规模不锈钢生产线。

VODC复合精炼炉
查看详情

VODC复合精炼炉

结合VOD和VAD技术的复合精炼设备,兼具脱碳和脱气功能,适用于高品质特种钢生产。

移动式VOD炉
查看详情

移动式VOD炉

模块化设计,便于安装和搬迁,适用于试验车间和小批量特种钢生产。

智能化VOD炉
查看详情

智能化VOD炉

配备先进的传感器和AI控制系统,实现精炼过程自动化和工艺优化。

节能型VOD炉
查看详情

节能型VOD炉

采用热回收技术和高效真空系统,能耗比传统设备降低20%以上。

VOD钢包精炼炉材料

耐火材料

采用优质镁铬砖、刚玉砖等高耐火度材料,确保炉衬在高温真空环境下的稳定性和使用寿命。

钢结构

主体结构采用Q345B低合金高强度钢,关键部位使用耐热钢,确保设备在高温下的结构稳定性。

冷却系统

配备高效水冷系统,使用优质无缝钢管和铜合金冷却元件,确保设备长时间连续运行。

真空系统

采用蒸汽喷射泵或机械真空泵组,关键部件使用耐腐蚀材料,确保高真空度和稳定运行。

VOD炉材料结构图

VOD钢包精炼炉功能

深度脱碳

在真空条件下吹氧,实现钢水的深度脱碳,碳含量可降至0.01%以下,满足超低碳不锈钢的生产要求。

合金回收

真空环境减少铬等贵重金属的氧化损失,提高合金回收率,降低生产成本。

脱气净化

去除钢水中的氢、氮等有害气体,提高钢材的纯净度,改善力学性能和加工性能。

温度控制

精确控制钢水温度,确保精炼过程的热力学条件,提高精炼效率和产品质量。

成分微调

在精炼过程中精确调整钢水成分,满足不同钢种的成分要求,实现多品种生产。

自动化控制

配备先进的PLC和DCS控制系统,实现精炼过程的自动化控制和工艺参数优化。

VOD钢包精炼炉应用领域

不锈钢生产

用于奥氏体、铁素体、马氏体等各类不锈钢的精炼,提高不锈钢的耐腐蚀性和加工性能。

轴承钢精炼

生产高纯净度轴承钢,降低氧化物夹杂,提高轴承的疲劳寿命和可靠性。

工具钢制造

用于高速钢、模具钢等工具钢的精炼,提高钢材的硬度、耐磨性和红硬性。

汽车用钢

生产汽车用高强度钢和耐腐蚀钢,满足汽车轻量化和安全性的要求。

航空航天材料

用于高温合金和特种不锈钢的精炼,满足航空航天领域对材料性能的苛刻要求。

化工设备材料

生产耐腐蚀不锈钢,用于化工容器、管道和设备制造,提高设备的使用寿命。

电力行业

用于电站锅炉管、汽轮机叶片等高温部件的材料生产,提高设备的耐热性和可靠性。

医疗器械

生产医用不锈钢,用于手术器械、植入物等医疗器械制造,确保材料的安全性和生物相容性。

需要VOD钢包精炼炉解决方案?

捷凯洲机械拥有20年VOD设备设计制造经验,可为客户提供从方案设计、设备制造到安装调试的全流程服务。欢迎联系我们获取详细资料和定制方案。

立即咨询